|
 |
节能灯系列 >> |
|
|
DGS13/127Y(A)矿用隔爆型荧光灯
 |
| 一、适用范围及用途 |
|
DGS13/127Y(A)矿用隔爆型荧光灯(以下简称13W荧光灯)。适用于具有瓦斯及煤尘爆炸危险的矿井中,可供车场及机电峒室、中心变电所、大巷运输、泵房等场所供照明之用。
灯具按GB3836-2010《爆炸性气体环境用电气设备》、MT221-2005《煤矿用防爆灯具》等有关标准设计、制造与检验。 |
| 二、型号及含义 |
 |
| 三、主要特点 |
●灯管采用4U玻璃管,优质纯稀土三基色荧光粉和独特的配方工艺,光效高,节能,寿命5000—8000小时。
●荧光灯采用灯管与电子镇流器一体化设计。镇流器承受瞬时高峰值电压高,且启动速度快无闪烁。
●隔爆面表面处理采用先进的钝化工艺,能防止井下含硫潮湿成分气体对壳体的腐蚀,能正常开盖维护。
●灯管采用顶口式设计。玻璃外罩及灯管意外破损时,可自动断电,有效防止由此引起的意外事故。
●壳体表面及防护网采用静电喷涂工艺处理,保证灯具在井下潮湿恶劣环境中的长期使用。 |
| 四、主要技术参数 |
|
产品型号
|
额定功率
|
额定电压
|
照度
|
引入电缆规格
|
重量
|
|
DGS13/127Y(A)
|
13W
|
127V
|
≥10Lx
|
¢10-14
|
3Kg
|
|
| 五、结构概述 |
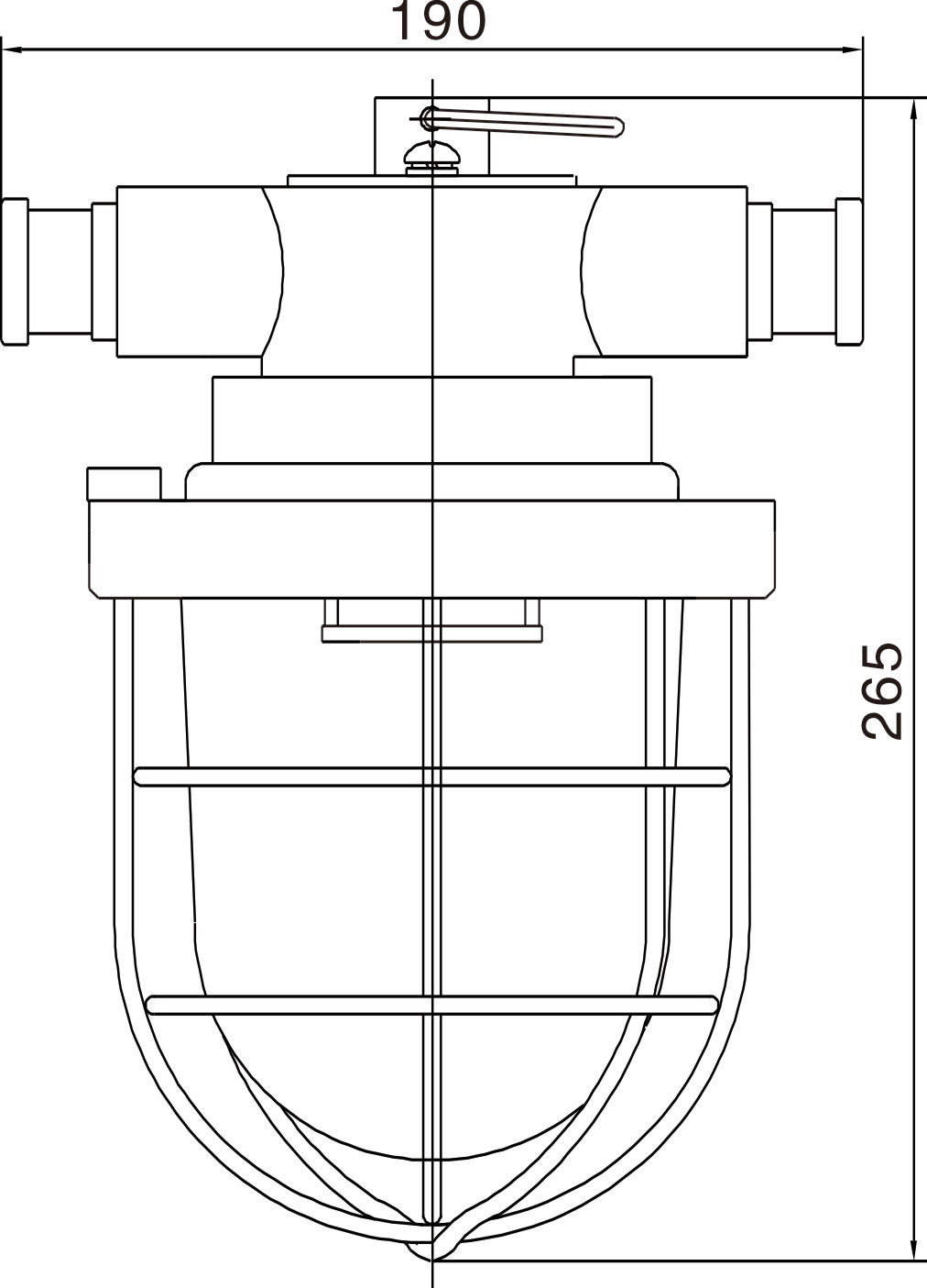
六、外形尺寸 |
| 13W荧光灯由上、下灯体两部分组成,以三个止口相连,并用两个M5×14螺钉定位。上灯体由铝合金外壳、电缆引入装置及设有连锁机构的灯座组成,并设有内外接地螺钉。下灯体由铝合金外壳、密封垫、防爆玻璃罩及金属保护网组成。铝合金外壳转动时,能使灯座触头自动断电,从而保证了安全。 灯头与电源采用直口式压接方式。荧光灯被压在上灯体与下灯体之间。接线腔与光源腔、灯具内腔与外界之间由符合规定的隔爆接合面连接。 |
|
|
| 【复制地址 】【 收藏 】 【 打印 】 【 关闭 】 |
|
|
|